18+
Новости Актау и Мангыстау
Ақтау және Манғыстау жаңалықтары
25.03.2024, 19:11

Зачем автобренды разрабатывают краску, меняющую цвет

Toyota занимается разработкой краски, способной менять цвет, передает Tengri Auto со ссылкой на Motor Authority.
Фото: Motor Authority
Фото: Motor Authority
Toyota занимается разработкой краски, способной менять цвет, передает Tengri Auto со ссылкой на Motor Authority.

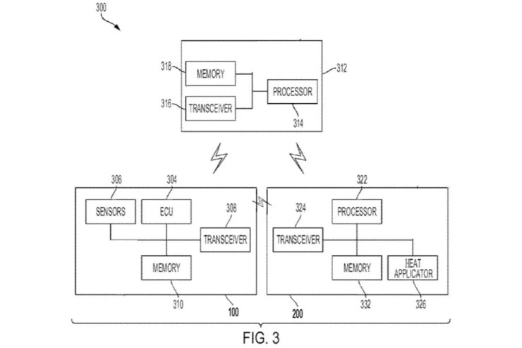
Компания уже подала заявку на патент. Представители Toyota объясняют, что благодаря новой краске владельцам больше не понадобится применять виниловую пленку или проходить процедуру перекраски. Теперь краска будет способна изменять свой цвет в зависимости от температуры и уровня освещения. Для этого автомобиль будет помещаться в специальный туннельный гараж с нагревательными элементами. Под действием тепла краска будет меняться, а специальное светоизлучающее устройство сможет ее трансформировать.


Основным элементом процесса изменения цвета является специальное устройство. Оно будет контролироваться либо роботом в автоматическом режиме, либо человеком.

Устройство будет адаптировано к датчикам температуры, встроенным в кузов автомобиля, и различным электронным системам для максимальной точности определения настроек каждого цвета.

Зачем автобренды разрабатывают краску, меняющую цвет

Фото: Motor Authority


В компании отмечают, что ноу-хау не только сможет привлечь внимание покупателей, но и удовлетворит потребности автолюбителей, которые хотят кардинально менять цвет машины в любое время без особых сложностей.

Напомним, в июле прошлого года BMW представила инновационную разработку, позволяющую автомобилям моментально менять цвет кузова по желанию владельца.

В базе Всемирной организации интеллектуальной собственности были зарегистрированы два патента, относящихся к этой инновации. Патенты предоставляют возможность создания автомобилей-хамелеонов, цвет которых можно будет изменять.

Тогда представители компании сообщили, что это будет касаться не только внешнего облика, но и внутреннего оформления благодаря инновационной пленке, которая может быть наклеена на любую трехмерную поверхность.

Первый патент описывает особенности декоративной пленки, представляющей собой "умное" стекло с миллионами микроскопических капсул, способных менять цвет. При электростимуляции частицы определенного цвета собираются на поверхности, что позволяет изменить оттенок кузова автомобиля. Второй патент касается метода нанесения этого декоративного слоя на автомобили, используя специальный клей и защитные слои.

Отметим, что BMW уже демонстрировала применение этой концепции на концептуальном кроссовере iX Flow, который способен менять цвет в реальном времени.


Зачем автобренды разрабатывают краску, меняющую цвет


Подчеркнем, что краски, меняющие цвет, были известны и ранее. К примеру, гидрохромная краска, которая меняет цвет при попадании воды на автомобиль. Термохромная краска способна преобразить цвет кузова в зависимости от температуры. Парамагнитная краска меняет авто всего лишь нажатием одной кнопки на пульте управления.

У всех трех были выявлены свои недостатки, возможно, поэтому они не пошли "в массы".
0
0
0
Подпишись на наш канал в Telegram
– быстро, бесплатно и без рекламы
Подписаться

Комментарии

0 комментарий(ев)
Комментарии могут оставлять только зарегистрированные пользователи. Зарегистрируйтесь либо, авторизуйтесь. Содержание комментариев не имеет отношения к редакционной политике Лада.kz.Редакция не несет ответственность за форму и характер комментариев, оставляемых пользователями сайта.